Experiences

Technology Area: Silicon Processes and Programs
Product(s): AI/ML decision solutions, AI Accelerators (GPUs, FPGAs, eASICs)
Role: Technical Product and Program Management
Organization: Intel Corporation
Timeline: 2022 - 2025

Owns technical and business decision solutions leveraging advanced analytics, optimization, meta-heuristics, and AI/ML for Intel Foundry and Intel Acceleration Office.

Led processes for portfolio of Silicon (for AI acceleration) programs serving communications, cloud, enterprise, and embedded market segments.

Led gaming software solutions and services for Intel's integrated and first graphics products.

Learn More

Technology Area: Software for Consumer Electronics
Product: PlayStation 5
Role: Technical Product and Program Management
Organization: Sony Interactive Entertainment
Timeline: 2019 - 2022

Led execution of game app and services which enhances performance of PS5 apps towards PlayStation 5 Launch and Post Launch phases.

Learn More

Technology Area: SaaS for Consumer Electronics
Product(s): GE Appliances
Role: Engineering and Program Management
Organization: General Electric
Timeline: 2010 - 2018

Led multiple projects and executed service apps for home appliances using iNPI .

Learn More

Technology Area: Databases
Product: Distributed Databases
Role: Data Analyses and Management
Organization: Barclays Wealth Americas
Timeline: 2009 - 2010

Executed database transformation to distributed systems for portfolio’s positions and balances after Barclays acquired Lehman Brothers.

Learn More

Technology Area: Consumer Electronics for Automotives
Product(s): Radios in Chrysler, BMW, General Motors, VW
Role: Engineering and Validation
Organization: Siemens VDO Automotives Inc.,
Timeline: 2008 - 2009

Developed code for automated diagnostics of the radios. Analyzed and verified the response of vehicle radios in different modes using CANoe diagnostic software.

Learn More

Patents

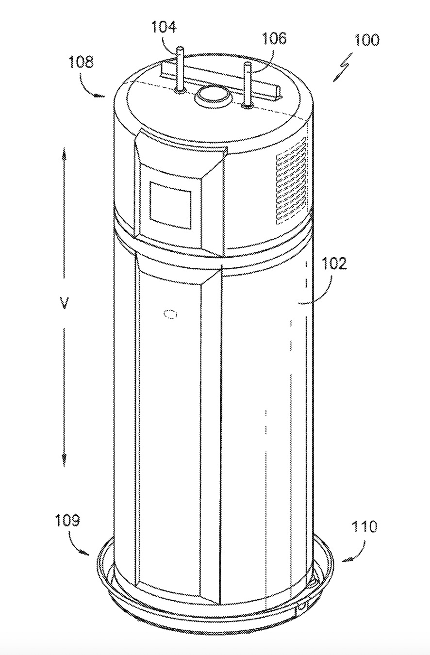
Method for detecting a faulty air handler in a heat pump appliance

The present subject matter relates generally to heat pump appliances, such as heat pump water heater appliances, and methods for performing diagnostics on heat pump appliances.

Learn More

Detachable accessory for enhanced effects, accessibility, spectating, and play-along

A detachable accessory for enhanced effects, accessibility, spectating, and play-along that is used with either a handheld controller (for example, DualShock® or DualSense® made by Sony), or mobile device (e.g., a cell phone).

Learn More
Next
Next

Speaking Engagements